URI: 
  TEXT View Source
       
       # PENRIL DATABILITY NETWORKS
       
          VISTA VCP-1000
       
          Card Type         Ethernet router                              
          Chip Set          Unidentified                                 
          I/O Options       NIC module, line interface module (4)        
       
   IMG IMG 1
          
       
          +------------------------------------------------------------+
          |                        CONNECTIONS                         |
          |------------------------------------------------------------|
          |      Function       | Label |       Function       | Label |
          |---------------------+-------+----------------------+-------|
          | 1, A, B, and C      |  B1   | ENTER button         |  B10  |
          | button              |       |                      |       |
          |---------------------+-------+----------------------+-------|
          | 2, D, E, and F      |  B2   | 0, dash, comma, and  |  B11  |
          | button              |       | underscore button    |       |
          |---------------------+-------+----------------------+-------|
          | 3, G, H, and I      |  B3   | DELETE button        |  B12  |
          | button              |       |                      |       |
          |---------------------+-------+----------------------+-------|
          | 4, J, K, and L      |  B4   | LEFT button          |  B13  |
          | button              |       |                      |       |
          |---------------------+-------+----------------------+-------|
          | 5, M, N, and O      |  B5   | UP button            |  B14  |
          | button              |       |                      |       |
          |---------------------+-------+----------------------+-------|
          | 6, P, Q, and R      |  B6   | DOWN button          |  B15  |
          | button              |       |                      |       |
          |---------------------+-------+----------------------+-------|
          | 7, S, T, and U      |  B7   | RIGHT button         |  B16  |
          | button              |       |                      |       |
          |---------------------+-------+----------------------+-------|
          | 8, V, W, and X      |  B8   | Power switch         |  SW1  |
          | button              |       |                      |       |
          |---------------------+-------+----------------------+-------|
          | 9, Y, Z, and period |  B9   |                      |       |
          | button              |       |                      |       |
          +------------------------------------------------------------+
       
          NIC Type               Ethernet                                
          Processor              80186                                   
          Processor Speed        20MHz                                   
          Chip Set               Intel 82856                             
          Maximum Onboard Memory 2MB DRAM/128K static RAM                
          I/O Options            PCMCIA Type I slot                      
          Maximum network Rate   10Mbps                                  
          Data Bus               Proprietary                             
          Topology               Linear Bus/Star                         
          Wiring Type            Unshielded twisted pair                 
                                                                         
                                 AUI transceiver via DB-15 port          
                                                                         
                                 RG-58A/U 50ohm coaxial                  
       
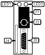
   IMG IMG 2
          
       
          +------------------------------------------------------------+
          |                        CONNECTIONS                         |
          |------------------------------------------------------------|
          |      Function      | Label |       Function        | Label |
          |--------------------+-------+-----------------------+-------|
          | Unshielded twisted |  J1   | AUI transceiver via   |  J3   |
          | pair               |       | DB-15 port            |       |
          |--------------------+-------+-----------------------+-------|
          | RG-58A/U 50ohm     |  J2   | PCMCIA Type I slot    |  J4   |
          | coaxial            |       | for memory card       |       |
          +------------------------------------------------------------+
       
          +------------------------------------------------------------+
          |                     DIAGNOSTIC LED(S)                      |
          |------------------------------------------------------------|
          | LED  | Color |  Status  |            Condition             |
          |------+-------+----------+----------------------------------|
          | LED1 | Green |    On    |  10Base-T network connection is  |
          |      |       |          |               good               |
          |------+-------+----------+----------------------------------|
          | LED1 | Green |   Off    |  10Base-T network connection is  |
          |      |       |          |              broken              |
          |------+-------+----------+----------------------------------|
          | LED2 | Green | Blinking |    Network activity detected     |
          |------+-------+----------+----------------------------------|
          | LED2 |  Red  |    On    |  Coaxial network connection is   |
          |      |       |          |              broken              |
          |------+-------+----------+----------------------------------|
          | LED2 |  Red  | Blinking |   Network collisions detected    |
          |------+-------+----------+----------------------------------|
          | LED2 |  N/A  |   Off    |  Network activity not detected   |
          +------------------------------------------------------------+
       
          NIC Type               Ethernet                                
          Processor              80186                                   
          Processor Speed        10MHz                                   
          Chip Set               Intel 82586                             
          Maximum Onboard Memory 512KB DRAM/64K NVRAM/64KB static RAM    
          Maximum network Rate   10Mbps                                  
          Data Bus               Proprietary                             
          Topology               Linear Bus/Star                         
          Wiring Type            Unshielded twisted pair                 
                                                                         
                                 AUI transceiver via DB-15 port          
                                                                         
                                 RG-58A/U 50ohm coaxial                  
       
   IMG IMG 3
          
       
          +------------------------------------------------------------+
          |                        CONNECTIONS                         |
          |------------------------------------------------------------|
          |      Function      | Label |       Function        | Label |
          |--------------------+-------+-----------------------+-------|
          | Unshielded twisted |  J1   | AUI transceiver via   |  J3   |
          | pair               |       | DB-15 port            |       |
          |--------------------+-------+-----------------------+-------|
          | RG-58A/U 50ohm     |  J2   |                       |       |
          | coaxial            |       |                       |       |
          +------------------------------------------------------------+
       
          +------------------------------------------------------------+
          |                     DIAGNOSTIC LED(S)                      |
          |------------------------------------------------------------|
          | LED  | Color |  Status  |            Condition             |
          |------+-------+----------+----------------------------------|
          | LED1 |  Red  | Blinking |    Network activity detected     |
          |------+-------+----------+----------------------------------|
          | LED1 |  Red  |   Off    |  Network activity not detected   |
          |------+-------+----------+----------------------------------|
          | LED2 | Green |    On    |  10Base-T network connection is  |
          |      |       |          |               good               |
          |------+-------+----------+----------------------------------|
          | LED2 | Green |   Off    |  10Base-T network connection is  |
          |      |       |          |              broken              |
          +------------------------------------------------------------+
       
          Card Type              Serial                                  
          Processor              Unidentified                            
          Processor Speed        Unidentified                            
          Chip Set               Unidentified                            
          Maximum Onboard Memory Unidentified                            
          I/O Options            Serial ports (8)                        
          Data Bus               Proprietary                             
       
   IMG IMG 4
          
       
          +------------------------------------------------------------+
          |                        CONNECTIONS                         |
          |------------------------------------------------------------|
          |      Function      |  Label  |      Function       | Label |
          |--------------------+---------+---------------------+-------|
          | Serial ports 1 - 8 | CN1-CN8 | Connector for       |  W1   |
          |                    |         | VCP-1000            |       |
          +------------------------------------------------------------+
       
          Card Type              Serial                                  
          Processor              Unidentified                            
          Processor Speed        Unidentified                            
          Chip Set               Unidentified                            
          Maximum Onboard Memory Unidentified                            
          I/O Options            Serial ports (32)                       
          Data Bus               Proprietary                             
       
   IMG IMG 5
          
       
          +------------------------------------------------------------+
          |                        CONNECTIONS                         |
          |------------------------------------------------------------|
          |      Function      |   Label   |     Function     | Label  |
          |--------------------+-----------+------------------+--------|
          | Serial ports 1 -   |  CN1-CN4  | Connector for    |   W1   |
          | 32                 |           | VCP-1000         |        |
          |--------------------+-----------+------------------+--------|
          | Serial ports 1 -   |  J1-J32   |                  |        |
          | 32                 |           |                  |        |
          |------------------------------------------------------------|
          |      Note:The backplane of this card will have either      |
          |      J1-J32 installed or CN1-CN4 installed, but not both.  |
          +------------------------------------------------------------+